Заказать обратный звонок
Перезвоните мне
Запасные части Амкодор
Ремонт и сервис
Техника Амкодор
Навесное оборудование
Электронные каталоги
Производство
Контакты
Запчасти и ремонт Амкодор
+7 (495) 150-22-87
заказ звонка
office@amkodor-sm.ru
г. Москва, ул. Маршала Прошлякова, д.5, к.4
Схема проезда
Доставка по Москве, МО и в регионы РФ
В корзине:
0
товаров
Главная
/
Электронные каталоги
/
Для дорожных катков
/
Амкодор 6223
/
Система орошения
Электронные каталоги
Для фронтальных погрузчиков Амкодор
Для универсальных погрузчиков Амкодор
Для погрузчиков-экскаваторов
Для фрезерных машин
Для погрузчиков с бортовым поворотом
Для вилочных погрузчиков
Для погрузчиков с телескопической стрелой
Для машин лесопромышленного комплекса
Для машин снежного комплекса
Для тягачей
Для дорожных катков
Для автогрейдеров
Запасные части Амкодор
Гидромеханическая передача
Гидросистема
Двигатели и запчасти для них
Демпферы
Кабина и стекла
Карданные валы и промопоры
Мосты и диски
Шины и камеры
Подшипники и стопорные кольца
Радиаторы, патрубки и хомуты
Рамы и рамки балансирные
Оборудование погрузочное и рабочие органы
Редуктор отбора мощности (РОМ)
Резино-технические изделия
Сочленение полурам и рулевого управления
Фильтры и фильтрующие элементы
Щетки техпластины
Электрооборудование
Литература техническая и каталоги
Запчасти по моделям
Амкодор 332, 333, 342, 352, ТО-18, ТО-28
Амкодор 208, 211
Амкодор-702, ТО-49, ДЗ-133
Амкодор-8047, 9211, ФД-400, СНФ-200
Амкодор 451
Амкодор 2551, 2661, 2662
Амкодор 6712
Амкодор 525, 527
Амкодор 37
Амкодор 9531, ДЭ-226, Д-902, ДЭ-235
Распродажа запчастей
Средства малой механизации
Запасные части и техника SDLG, XCMG, Deutz
Cмазочные материалы (ГСМ)
Рукава высокого давления
Техника и запчасти МТЗ
Электронные каталоги
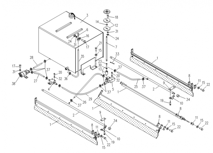
Запчасти для Амкодор 6223 в узле "Система орошения" в разрезе схемы №13-915
Другие узлы:
Адаптер
Бак
Блок рычагов
Валец
Гидросистема
Гидроцилиндр
Дверка
Колодка
Место рабочее
Облицовка
Пробка
Система орошения
Скребок
Управление
Установка баков
Установка гидроаппаратов
Установка силовая
Шарнир
Электросистема
Электросистема пульта