Электронные каталоги
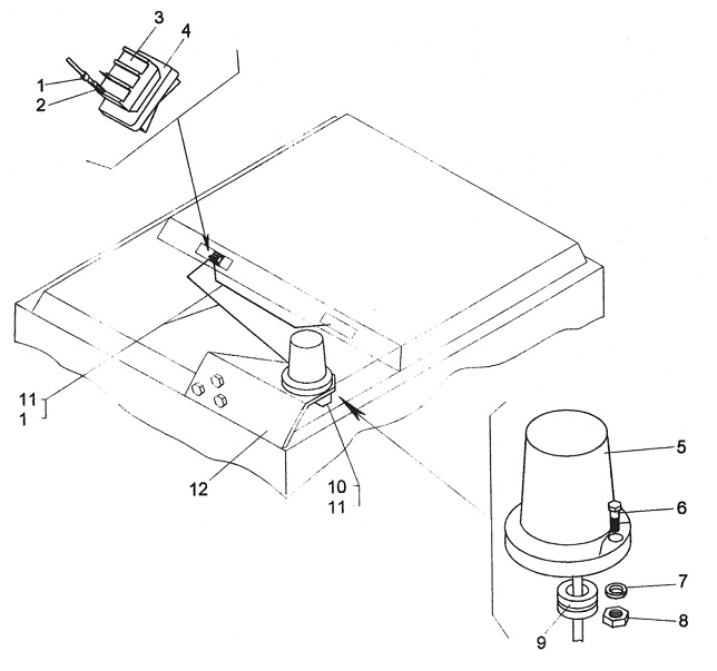
Запчасти для Амкодор 8047А в узле "Установка сигнального фонаря" в разрезе схемы №14-955
Другие узлы:
- Гидросистема
- Кожух
- Колесо опорное
- Муфта карданная
- Привод рабочего органа
- Рама
- Редуктор конический
- Редуктор привода рабочего органа
- Система орошения
- Установка сигнального фонаря
- Фреза
Возможно, Вас заинтересует: