Электронные каталоги
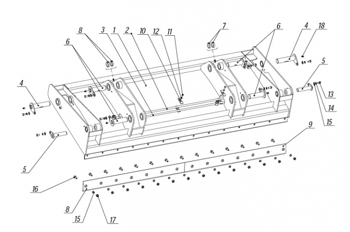
Запчасти для Амкодор 702ЕА в узле "Бульдозерный отвал" в разрезе схемы №11-733
проверенный и практичный экскаватор погрузчик на базе МТЗ
Технические
консультации
консультации
Принимаем к оплате наличные, карты и банковские переводы
Бесплатная
доставка
доставка
Другие узлы:
- Башмак опорный
- Бульдозерный отвал
- Гидробак
- Гидросистема
- Двухчелюстной ковш
- Ковш
- Колонка
- Погрузочное оборудование
- Портал левый
- Портал правый
- Рама
- Рукоять
- Рычаги
- Стрела
- Установка гидрораспределителя
- Установка насоса
Возможно, Вас заинтересует:
