Электронные каталоги
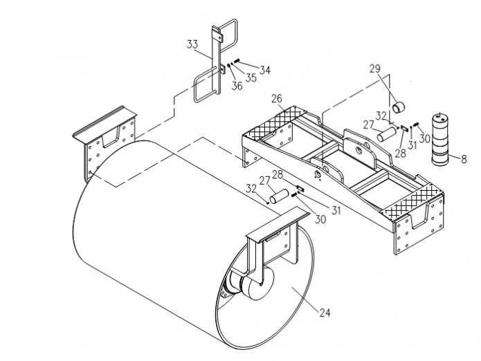
Запчасти для Амкодор 6622 в узле "Установка переднего вальца" в разрезе схемы №19-1330
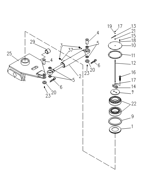
Другие узлы:
- Блок гидрораспределителя
- Гидрораспределитель руля
- Гидросистема
- Гидроцилиндр
- Дверь
- Задний валец
- Кабина
- Клапанная коробка
- Колодка
- Облицовка
- Окно
- Панель
- Передний валец
- Подкабинник
- Пробка
- Рама
- Редуктор привода насосов
- Силовой агрегат
- Система смачивания
- Топливная система
- Управление
- Установка гидробака
- Установка заднего вальца
- Установка кабины
- Установка кондиционера
- Установка насосов
- Установка переднего вальца
- Электросистема
- Электросистема кабины
- Электросистема подкабинника
Возможно, Вас заинтересует: